最近不少伙伴咨询爱思助手查看验机报告的操作,今天小编就带来了爱思助手查看验机报告的操作步骤,感兴趣的小伙伴一起来看看吧!
爱思助手查看验机报告的操作方法
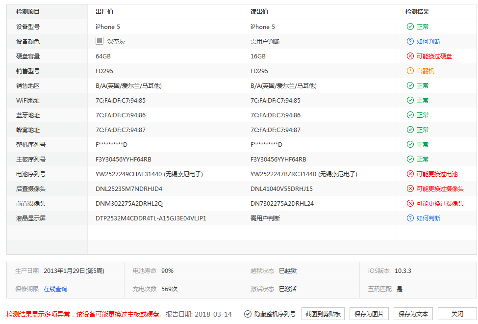
一、面板颜色,外壳颜色,设备颜色检测结果说明
面板和外壳属于非电子类硬件,所以爱思助手只可以读出此设备的出厂颜色,而不能读出此设备当前使用的面板和外壳颜色。可以目测设备的实际颜色,并和出厂值进行对比来判断设备的面板和外壳是否被更换过。
二、硬盘容量检测结果说明
硬盘扩容:指的是将手机内部硬盘(ROM)换成更大容量的版本,如16GB硬盘换成128GB硬盘。
换过硬盘:指的是设备的原硬盘可能曾损坏并被拆件硬盘替换过。
拆过硬盘:指的是硬盘曾经拆卸过,通过专业工具修改过出厂数据。
三、销售型号检测结果说明
官换机:也叫服务机、置换机,是苹果用于售后换机用的全新机器。
官翻机:苹果官方翻新并进行销售的产品,苹果官网上写的是“Apple认证的翻新产品”。
展示机:实体手机店或者苹果体验店里,摆放着用来给顾客看或者试用体验的机器。
四、液晶显示屏检测结果说明
由于液晶显示屏和触屏的特殊性,不能读取到该硬件的唯一编码,所以不能通过对比编码的方式来确认是否被更换过。但根据苹果原装配件特性来看,液晶显示屏、触摸屏、前置摄像头、听筒、感应器等多配件一体称为显示屏配件总成。多数维修人员在更换液晶显示屏时,不会将旧配件总成上的摄像头拆装到新的配件总成上,因为拆装配件总成很容易损坏,所以,都会选择直接更换配件总成。因此,若前置摄像头的出厂值和读出值不一致,则该手机可能更换过液晶显示屏配件总成。
五、检测结果多项异常情况说明
若你的设备检测结果中电池序列号、前置摄像头、 后置摄像头、指纹串号四项均不正常(无指纹的设备只要前三项不正常),则该设备或会更换过主板或硬盘。
还不会有爱思助手查看验机报告的朋友们,不要错过小编带来的这篇文章哦。
体育竞技
310.89MB
88.6MB
47.8MB
游戏辅助 | 4.5GB
2024-04-24
动作格斗 | 20GB
2024-04-23
角色扮演 | 3.2GB
2024-04-22
角色扮演 | 500MB
休闲益智 | 30.17MB
2024-04-18
生活服务 | 144.35MB
学习教育 | 24.26MB
2023-11-08
系统工具 | 6.78MB
体育竞技 | 88.6MB
体育竞技 | 47.8MB
体育竞技 | 310.89MB
爱思助手查看验机报告的操作方法
最近不少伙伴咨询爱思助手查看验机报告的操作,今天小编就带来了爱思助手查看验机报告的操作步骤,感兴趣的小伙伴一起来看看吧!
爱思助手查看验机报告的操作方法
一、面板颜色,外壳颜色,设备颜色检测结果说明
面板和外壳属于非电子类硬件,所以爱思助手只可以读出此设备的出厂颜色,而不能读出此设备当前使用的面板和外壳颜色。可以目测设备的实际颜色,并和出厂值进行对比来判断设备的面板和外壳是否被更换过。
二、硬盘容量检测结果说明
硬盘扩容:指的是将手机内部硬盘(ROM)换成更大容量的版本,如16GB硬盘换成128GB硬盘。
换过硬盘:指的是设备的原硬盘可能曾损坏并被拆件硬盘替换过。
拆过硬盘:指的是硬盘曾经拆卸过,通过专业工具修改过出厂数据。
三、销售型号检测结果说明
官换机:也叫服务机、置换机,是苹果用于售后换机用的全新机器。
官翻机:苹果官方翻新并进行销售的产品,苹果官网上写的是“Apple认证的翻新产品”。
展示机:实体手机店或者苹果体验店里,摆放着用来给顾客看或者试用体验的机器。
四、液晶显示屏检测结果说明
由于液晶显示屏和触屏的特殊性,不能读取到该硬件的唯一编码,所以不能通过对比编码的方式来确认是否被更换过。但根据苹果原装配件特性来看,液晶显示屏、触摸屏、前置摄像头、听筒、感应器等多配件一体称为显示屏配件总成。多数维修人员在更换液晶显示屏时,不会将旧配件总成上的摄像头拆装到新的配件总成上,因为拆装配件总成很容易损坏,所以,都会选择直接更换配件总成。因此,若前置摄像头的出厂值和读出值不一致,则该手机可能更换过液晶显示屏配件总成。
五、检测结果多项异常情况说明
若你的设备检测结果中电池序列号、前置摄像头、 后置摄像头、指纹串号四项均不正常(无指纹的设备只要前三项不正常),则该设备或会更换过主板或硬盘。
还不会有爱思助手查看验机报告的朋友们,不要错过小编带来的这篇文章哦。
体育竞技
310.89MB
体育竞技
88.6MB
体育竞技
47.8MB
游戏辅助 | 4.5GB
2024-04-24
动作格斗 | 20GB
2024-04-23
角色扮演 | 3.2GB
2024-04-22
角色扮演 | 500MB
2024-04-22
休闲益智 | 30.17MB
2024-04-18
生活服务 | 144.35MB
2024-04-18
生活服务 | 144.35MB
2024-04-18
生活服务 | 144.35MB
2024-04-18
学习教育 | 24.26MB
2023-11-08
系统工具 | 6.78MB
2023-11-08
体育竞技 | 88.6MB
体育竞技 | 47.8MB
体育竞技 | 310.89MB